财务小王

申税小微,我刚刚发现申报好的印花税数据有误,这可怎么办?
别担心!现在可以在电子税务局中更正往期印花税了。若因申报有误需要修改数据的,可参照以下步骤进行错误更正。

申税小微
第一步
登录电子税务局。

第二步
点击最上方【我要办税】栏目。

第三步
点击左侧栏中的【税费申报及缴纳】,右侧下拉找到【申报更正与作废】模块。


第四步
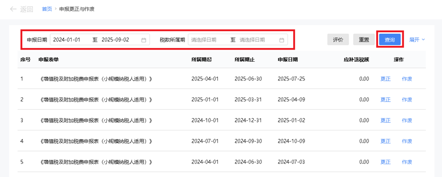
选择所要更正报表的申报日期或者税款所属期,并点击【查询】。

第五步
找到需要修改的印花税报表,点击右侧的【更正】按钮。

第六步
进入“印花税税源明细表”界面,点击右侧【修改】按钮。

第七步
修改有误的税源信息,完成后点击【保存】。

第八步
回到“印花税税源明细表”界面,仔细核对计税金额、应税凭证名称等数据,确认无误后,点击下方【提交】按钮。

第九步
提交后系统自动跳转到“财产和行为税税源采集及合并申报”界面,数据确认无误后,点击右下方【提交申报】。

第十步
最后系统会弹出“信息确认”弹框,需对本次申报结果进行确认声明,纳税人按提示补全信息后,点击【确定】提交即可更正成功。

温馨提示
显示申报成功后,若有税款需要缴纳,可点击【立即缴款】缴纳税费;若更正后需要退税,可点击下方【去办理】跳转【一站式退抵税(费)】申请退税。
供稿:项子业
制作:张 仪
